自2026年4月1日起 , 全国摩托车 、 电动车管理新规正式开始执行。 此次改革 , 彻底告别了往昔 “一刀切” 的禁限行模式 , 转而采用更为精准的管理方式。 对证件 、 年检 、 报废等环节做出了统一规定。 不管你是新手还是老手 , 只要弄明白这些变化 , 便能够合法合规地上路 , 避免被扣分罚款。
禁限行不再一刀切 核心区严控外围放开
以前不少城市针对摩托车,不论区域,不论时段,全面实施禁行举措,这给市民出行造成诸多不便之处。自打4月1日起,全国统一取消了这种“一刀切”的行为方式。新规定明确指出,各地会依据实际状况划分出核心管控区域以及外围放开区域。核心区域主要集中于学校、医院、商圈周边,在早晚高峰时段(早上7点至9点、晚上5点至7点)严格限制摩托车通行,而外围区域则准许摩托车正常行驶。
这种分级管控方式于北京、上海、广州等大城市已然开始施行,以北京为例,二环主路依旧禁止通行,然而辅路以及三环以外区域在非高峰时段准予通行,市民能够经由交管12123 APP查询所在城市的具体禁限行范畴,输入城市名称便可看到官方地图,高德和百度地图也对摩托车导航模式予以更新,系统会自行避开禁行路段,规划合法路线。
三证一险一牌 缺一不可上路必查
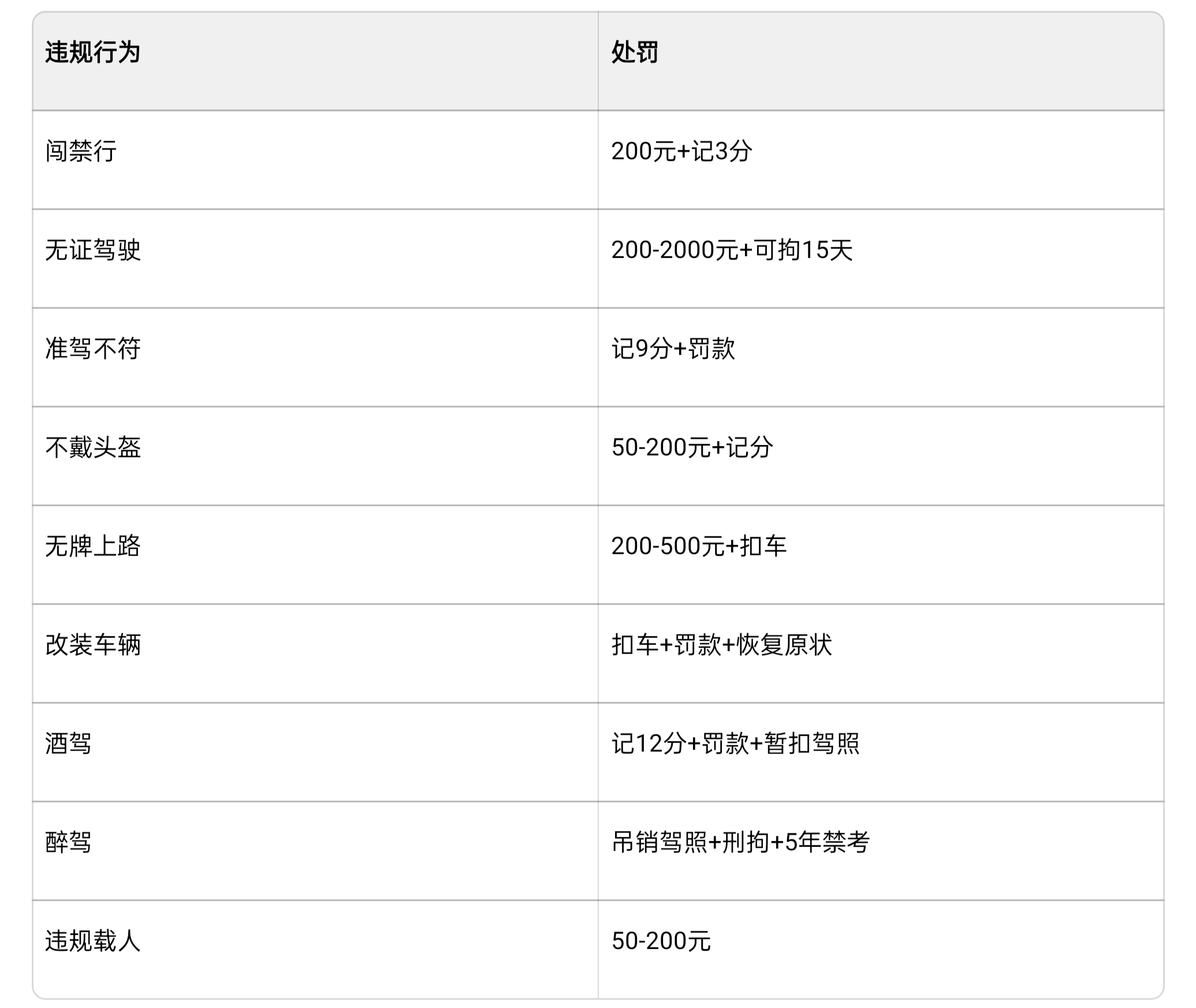
新规施行以后,交警前去路上开展检查的重点极为明晰:驾驶证,行驶证,交强险,号牌这四项都务必要完备。好多拥有C1驾照的车主错误地觉得能够骑乘摩托车,事实上这属于准驾不相符,一旦被查找到便直接记9分而且罚款200元。骑乘摩托车一定要持有D、E、F证当中的对应类型,电动轻便摩托车需要F证,普通电动摩托车需要E证,三轮摩托车则得要D证。
需要必查的交强险项目,电子保单或者标志得随车带着。车辆没买交强险会被扣下来,还会处以两倍保费的罚款。号牌这里面,临时牌那些过渡期结束了,没牌就上路要罚款200到500元,而且车也会被扣。之外呢,头盔佩戴也被归入严查范围,蓝牌以及黄牌摩托车不戴头盔要罚款50到200元,同时还会记分,绿牌电动车不戴头盔罚款20到50元。这些检查在全国范围内标准统一,不会再因为地方不同而有差异。
驾照年龄放宽 增驾流程简化便捷
新规对摩托车驾照报考年龄予以了调整,18周岁至70周岁的市民能够直接报考D、E、F证,70周岁以上的老年人若想考取驾照,需通过记忆力、判断力、反应力三项测试,且每年提交体检报告,如此同样能够合法驾驶,这一调整为诸多退休后想骑摩托车旅行的老年人提供了合法途径。
存在这样一种情况,那就是C1驾照增驾F证的流程出现了大幅度的简化,如果C1驾照已满1年实习期,并且不存在满分记录,那么就能够免考科目一以及科目四,仅仅需要考实操部分,增驾流程被划分成三步,第一步是前往驾校或者车管所报名,要携带身份证、C1驾照以及体检表,第二步是参加实操考试,第三步是在考试合格之后的1至3个工作日就能够拿到合并以后的新驾照,像C1F或者C1E这种,整个流程最快在一周之内便可以完成。
电摩分类明确 上牌年检全国通办
分不清电动车类型的车主有很多,新规给出了清晰分类。这种分类中,绿牌电动自行车最高时速不超过25公里,不需要驾照,且不能载人。蓝牌电轻摩之时速在25到50公里之间,需要F证,同样禁止载人。黄牌电摩时速超过50公里,需要E证或D证,可搭载1名成人。这三种车辆的上牌材料和流程基本是一致的,此类需要身份证、购车发票、合格证、3C认证和交强险保单。
在上牌费用这方面,其中牌照费是35元,交强险对于电轻摩而言是120元,而电摩的交强险是400元。验车、选号、领证以及上牌整个流程仅仅只需1到2小时。年检达成了全国通办的情况,并不需要进行异地备案。6年之内的新车是免除上线检测的,每两年要在交管12123里申领检验标志。6到10年的车辆,第6年和第10年是需要上线检测的,第8年只要申领标志就行。10年以上的车辆每年都要上线检测一次。
报废试点放宽 13年后检测合格可续用
车主一直关心的问题是摩托车的强制报废年限,新规规定,两轮摩托车报废标准是以先到者为准的13年或10万公里,正三轮摩托车为12年,不过广东、湖北、山东等6个试点省份出台了放宽政策,车辆达到13年后,只要检测合格,就可以继续使用,且每年检测一次。
因逾期年检所产生的后果是极为严重的,连续三次未曾参加年检的车辆会被实施强制报废,那种报废的车辆倘若上路后一旦被交警查到,那么该车辆会被强制收缴,并且会被处以二百元至二千元的罚款,与此同时驾驶证会被吊销,对于那些经过改装的车辆,尤其是改装了排气、灯光以及限速装置的,交警会进行扣车操作并罚款,还要求将车辆恢复到原本的状态,这些相关规定在全国范围内统一执行,不会再有地方上的差异。
严查红线不能碰 违规将影响征信
新规在使便民政策得到放宽之际,也将违规处罚的底线予以收紧,酒驾以及醉驾属于严查的重点范畴,醉驾将会致使驾照被吊销,遭到刑事拘留,而且5年内被禁止重新去考取,闯禁行在全国是统一进行罚款200元并且记3分,在违规载人这一方面,黄牌摩托车规定限载1名成人,禁止搭载12岁以下的儿童,改装车辆一旦被检查到,扣车是没有商量余地的。
更需留意的是,有一些严重违规行为将会被纳入征信系统,像无证驾驶、套牌、醉驾、肇事逃逸此类行为都将会被记录在案,进而影响到个人贷款、购房以及出行等平常生活,4月1日新规施行之后,全国各地交警将会开展为期三个月的专项整治行动,着重查处无牌无证、不戴头盔、闯禁行等行为,只要能够做到证件齐全、头盔戴好、不闯禁行、不改装、不酒驾、合规载人、按时年检、买好保险,便可以放心骑行。
你觉得新规中哪一条对你影响最大?欢迎在评论区分享你的看法。



